Encyclopaedia Index
TITLE: FLOW IN DRINKING WATER RESERVOIRS
BY: D R Glynn, FLOWSOLVE, London. Tel: +44 181 944 0940
FOR: WRc plc, Swindon.
DETAILS :
- Quality of water supply is a prime requirement - can be affected by
poor flow patterns in reservoirs, e.g. regions of stagnant flow.
- Reservoirs are underground, hence flow cannot be observed directly.
- WRc and Flowsolve carried out a research project to study flows in a
variety of reservoirs, both by measurement and using PHOENICS.
- Here a few examples are shown to illustrate the capabilities of
PHOENICS in this area.
continued ...
(1) CIRCULAR RESERVOIR, NO BAFFLES - velocity vectors
- Diameter 73 m.
- Inlet and outlet at about 2/3 radius. Inlet submerged and vertically
upwards. Outlet on floor.
- Plot shows velocity vectors at surface.
- Flow pattern is dominated by momentum of inlet stream. Reservoir is
relatively shallow, so much of surface flow is dominated by water
recirculating near floor.
- Flow is "well mixed", no stagnant areas.
CIRCULAR RESERVOIR, NO BAFFLES - velocity vectors
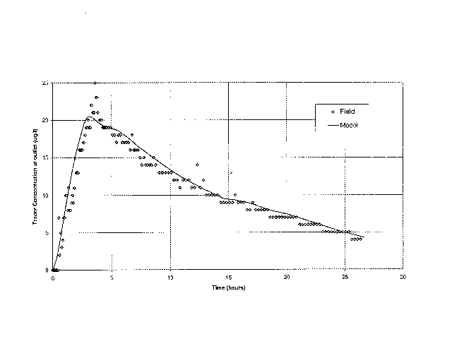
(2) CIRCULAR RESERVOIR, NO BAFFLES - comparison with measurement
- Tracer injected into inlet stream for defined period.
- Transient calculation, time step 20 mins.
- Plot shows variation of tracer concentration at outlet over
26 hour period.
- Agreement with field data is excellent.
CIRCULAR RESERVOIR, NO BAFFLES - comparison with measurement
(3) RECTANGULAR RESERVOIR, WITH BAFFLES - tracer concentration
- Rectangular reservoir 30m x 50m.
- Baffles aimed at achieving "plug flow" and preventing recirculations.
- Transient calculation, time step 20 mins.
- Tracer injected into inlet stream for 3 hours.
- Plot shows tracer concentration after 8 hours.
- Plug flow is clearly not achieved - there are substantial
recirculations behind each of the baffles.
RECTANGULAR RESERVOIR, WITH BAFFLES - tracer concentration
(4) RECTANGULAR RESERVOIR, WITH BAFFLES - chlorine concentration
- Same case as before, steady flow.
- Chlorine transport and decay modelled. Inlet concentration
0.5 mg/l, exponential decay with rate 0.02 per hour.
- Low chlorine concentration behind each baffle points to
weakness in the design.
RECTANGULAR RESERVOIR, WITH BAFFLES - chlorine concentration
Further details may be found in
"Simulation of Flow Patterns in Potable Water Reservoirs"
by D R Glynn, J Creasey and A Oakes,
presented at IPUC Seville May 1997.
wbs